本站资源仅供研究学习,请勿商用,产生法律纠纷本站概不负责!
如果侵犯了您的权益,请与我们联系,我们会立即处理。
简介:自己搞的微信活动经常被竞争对手和不怀好意的人举报投诉,怎么办??想要大量诱导分享和关注公众号,怕违规被微信封杀,怎么办??请您安装这款应用,您将会佣有一套跟微信公众号一模一样的投诉举报系统,让用户误认为这个就是真实的微信投诉,引诱竞争对手或者不怀好意的人进入这个自己掌控的投诉系统去举报,巧妙的避开了被真实投诉举报!因为被这套精仿的微信投诉举报误导了,微信官方实际收不到真实的投诉举报,被半路诱...
应用介绍
简介:
自己搞的微信活动经常被竞争对手和不怀好意的人举报投诉,怎么办??想要大量诱导分享和关注公众号,怕违规被微信封杀,怎么办??
请您安装这款应用,您将会佣有一套跟微信公众号一模一样的投诉举报系统,让用户误认为这个就是真实的微信投诉,引诱竞争对手或者不怀好意的人进入这个自己掌控的投诉系统去举报,巧妙的避开了被真实投诉举报!因为被这套精仿的微信投诉举报误导了,微信官方实际收不到真实的投诉举报,被半路诱导去了自己的投诉系统,可以防止被微信封杀,是规避恶意举报或者搞一些风险较高的动作时,必备的一套系统!!
【应用功能】
1、可以通过外部调用,只要是自己可以修改文件的任何第三方平台都可以引用。
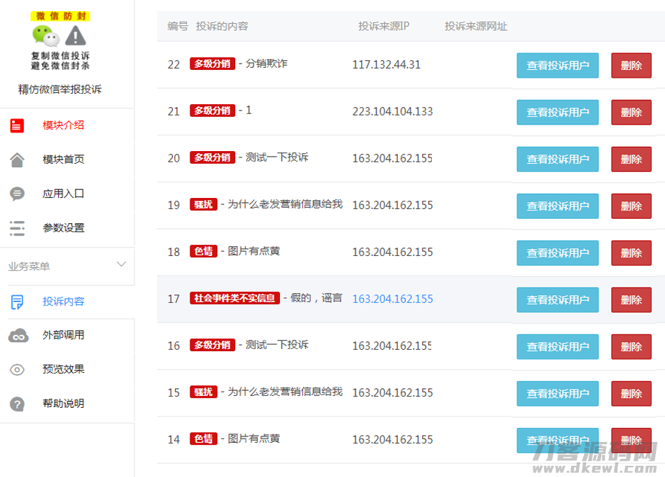
2、误导引诱进来投诉的内容,可以在后台查看,还可以看到投诉人真实的微信头像和昵称,让您知道到底谁在投诉举报您。 3、投诉举报的样式和提示文字可以在精细化设置。
4、第三方平台调用,可以多种方式,js文件调用或者直接HTML代码都可以,非常灵活。
5、参数设置完成之后,可以预览到实际效果。
6、这套投诉举报系统跟微信公众号的投诉系统界面完全一模一样,用户无法区别哪个是真的,哪个是假的。
7、投诉举报按钮可以漂浮到页面的任何一个地方,并且可以设置诱明度。
【应用价值】 1、除低强制关注、诱导分享等被微信封杀的风险,即防封。
2、后台可以看到头像和昵称,收集到底是哪些人在投诉,可以对这类人群做特殊化处理。
3、大化安全稳妥的运营一些风险较高的微信活动,把封杀风险降到低。
4、把用户的投诉举报巧妙的诱导到自己的系统上,自己做运动员,同时自己又是裁判员,把命运掌握自己手上。
5、如果遇到竞争对方恶意投诉举报,用此系统引诱误导,可以避免被真实投诉举报,有点像36计的“偷梁换柱、瞒天过海、反间计、调虎离山”。
图片:




©软件著作权归作者所有。本站所有软件均来源于网络,仅供学习使用,请支持正版!
转载请注明出处: 牛牛源码 » 精仿微信举报投诉v2.0.2最新版公众号源码
发表评论 取消回复